• Priceless Insights on Impulsive Control Disorder Test

    So, when you're trying to control problems, the impulsive control disorder test is a important matter. This test is all about understanding how well someone can control their impulses. It's super po

    2025/09/03 hj2008mt

  • How to Ace Momentum and Impulse Test Review

    To excel in physics or engineering, mastering momentum and impulse is an essential. I was studying for my momentum and impulse exam, and it felt like I was overwhelmed by a sea of information, trying

    2025/09/03 hj2008mt

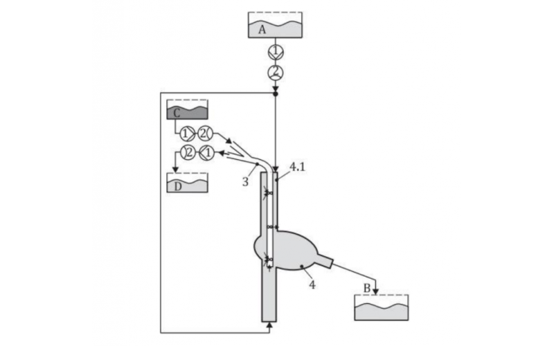
  • Promo: Mastering Impulse Transformer Testing

    So, in the electricalal engineering domain world, we've got this major concern called impulse transformer testing. It is extremely critical for ensuring power grids is secure and dependable. I've ha

    2025/09/03 hj2008mt

  • Raleigh Dover Impulse XXL Test - Your Ultimate Purchase Guide

    So, I was on the hunt for the best bike for my next major ride and stumbled across the Raleigh Dover Impulse XXL model. This bike has really turned heads with its exciting characteristics and riding e

    2025/09/03 hj2008mt

  • Mastering Impulse Test Tone: Key Questions

    Ever think about those enigmatic 'click' Thereforeunds? Well, this article is all about diving into the world of audio evaluation and checking out the deal with those 'click Thereforeunds. Whether

    2025/09/03 hj2008mt

  • Revolutionizing Video Head Impulse Teste Reviews

    Hey, researchers and enthusiasts! Eager to Get involvedto the Video Head Impulse Test (vHIT) Sphere? You're in the perfect Place! vHITs are super Exciting and getting really ubiquitous in vestibular

    2025/09/02 hj2008mt

  • Purchase with Purpose: Questions to Uncover Impulsive Behavior

    Ever find yourself feeling buying things impulsively, then wishing you hadn't later bought the way to avoid doing that is understanding why you act that way. Therefore, we created a list of queries t

    2025/09/02 hj2008mt

  • Discounted Switching Impulse Voltage Stand Test Mastery

    You know, this 'SWIWT' thing, it's super important for maintaining electrical equipment in good condition and making sure it's in good working order. So, what this test does is determine whether t

    2025/09/02 hj2008mt